Absaug- und Förderschlauch AIRDUC® PUR-INOX 351 FOOD-AS Innen-Ø 38 mm Außen-Ø 46,00 mm Länge 10 m Wandstärke 4 mm Rolle
E6445188
44,10 EUR
(exkl. MwSt.)
52,48 EUR
(inkl. MwSt.)
je 1 Meter
keine Verfügbarkeitsinformationen
Funktionen
Verkaufsdaten
| Mindestbestellmenge | 10 Meter |
| Bestellschritt | 10 Meter |
Beschreibung
Anwendungen: flexibler Schlauch für abrasives Pulver, Schüttgut, Granulat, Gase, Förderung von trockene und gefrorenen Lebensmittel und Pharmazeutika, Vakuum- und Saugförderer, Dosiersystem, Tablettenpresse, Mischer, Trockner, Verpackungsmaschine, Big-Bag Befüllung/Entleerung, Mühle, explosionsgefährdeter Bereich
Eigenschaften: mittelschwere Ausführung, hoch abriebfest, Zulassung nach EU-Verordnung 10/2011 sowie EG 1935/2004 und der neuesten EU-Verordnung 2015/174 durch ein unabhängiges Prüfinstitut für den gesamten Schlauch, Polyurethan lebensmittelecht nach: FDA 21 CFR 177.2600, geruchs- und geschmacksfrei, mikroben- und hydrolysefest, gute Öl-, Benzin- und Chemikalienbeständigkeit, sehr gute Kälteflexibilität, Wandung permanent antistatisch: Durchgangswiderstand und Oberflächenwiderstand < 10⁹Ω, gemäß TRGS727 und ATEX 2014/34/EU: zum pneumatischen Transport brennbarer Stäube und Schüttgüter (Zone 20, 21, 22 im Inneren), zur Aspiration brennbarer Stäube (Zone 22 im Inneren), zum Fördern für brennbare Flüssigkeiten (innen Zone 0, 1, 2), zum Fördern für nicht brennbare Flüssigkeiten, zum Einsatz in Zone 1 und 2 (Gase), zum Einsatz in Zone 0 (Gase), RoHS konform, REACH konform, Zulassung nach EU-Verordnung 10/2011 (Lebensmittelsimulanz E) sowie EG 1935/2004, Herstellungsprozess gemäß GMP EC 2023/2006
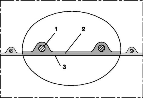
Konstruktion: 1. in der Wandung fest eingegossener Federstahldraht, Spirale: Edelstahldraht (INOX), 2. Wandung: permanent-antistatisches Premium Ether-Polyurethan (Pre-PUR ® ), 3. Wandstärke ca. 1,0 mm
Temperaturbereich: ca. -40 °C bis ca. +90 °C
Liefervarianten: weitere Ausführungen, Abmessungen und Längen auf Anfrage lieferbar
Weitere technische Eigenschaften:
· Aggregatzustand: Fest / Gasförmig
· Betriebsdruck: 1.775bar
· ÜberdruckDIN 26057(50% Dehnung)(bar): 1,775 (3,02)
· UnterdruckDIN 26057(Axial fixiert)(bar): 0,370 (1,00)
Eigenschaften: mittelschwere Ausführung, hoch abriebfest, Zulassung nach EU-Verordnung 10/2011 sowie EG 1935/2004 und der neuesten EU-Verordnung 2015/174 durch ein unabhängiges Prüfinstitut für den gesamten Schlauch, Polyurethan lebensmittelecht nach: FDA 21 CFR 177.2600, geruchs- und geschmacksfrei, mikroben- und hydrolysefest, gute Öl-, Benzin- und Chemikalienbeständigkeit, sehr gute Kälteflexibilität, Wandung permanent antistatisch: Durchgangswiderstand und Oberflächenwiderstand < 10⁹Ω, gemäß TRGS727 und ATEX 2014/34/EU: zum pneumatischen Transport brennbarer Stäube und Schüttgüter (Zone 20, 21, 22 im Inneren), zur Aspiration brennbarer Stäube (Zone 22 im Inneren), zum Fördern für brennbare Flüssigkeiten (innen Zone 0, 1, 2), zum Fördern für nicht brennbare Flüssigkeiten, zum Einsatz in Zone 1 und 2 (Gase), zum Einsatz in Zone 0 (Gase), RoHS konform, REACH konform, Zulassung nach EU-Verordnung 10/2011 (Lebensmittelsimulanz E) sowie EG 1935/2004, Herstellungsprozess gemäß GMP EC 2023/2006
Konstruktion: 1. in der Wandung fest eingegossener Federstahldraht, Spirale: Edelstahldraht (INOX), 2. Wandung: permanent-antistatisches Premium Ether-Polyurethan (Pre-PUR ® ), 3. Wandstärke ca. 1,0 mm
Temperaturbereich: ca. -40 °C bis ca. +90 °C
Liefervarianten: weitere Ausführungen, Abmessungen und Längen auf Anfrage lieferbar
Weitere technische Eigenschaften:
· Aggregatzustand: Fest / Gasförmig
· Betriebsdruck: 1.775bar
· ÜberdruckDIN 26057(50% Dehnung)(bar): 1,775 (3,02)
· UnterdruckDIN 26057(Axial fixiert)(bar): 0,370 (1,00)
Merkmale
| Innen-Ø | 38 mm |
| Außen-Ø | 46,00 mm |
| Wandstärke | 4 mm |
| Unterdruck | 0,37 bar |
| Gewicht | 0,32 kg/m |
| Länge | 10 m |
| Anwendungszweck | Absaug- und Gebläse- und Förderschlauch / Abrasive Medien / Lebensmittelschlauch |
| Biegeradius | 32,00 mm |
| Marke | NORRES |
| Temperaturbereich | ca. -40 bis ca. +90, kurzzeitig bis ca. +125 °C |
| Innen-Ø (Zoll) | 1 1/2 ″ |
Varianten
Absaug- und Förderschlauch AIRDUC PUR-INOX 351 FOOD-AS Innen- 65 mm Außen- 73 mm Länge 10 m Wandstärke 4 mm Rolle E6444559
keine Verfügbarkeitsinformationen
auf Anfrage
je 1 Meter
|
||||||||||||||
Absaug- und Förderschlauch AIRDUC® PUR-INOX 351 FOOD-AS Innen-Ø 32 mm Außen-Ø 40,00 mm Länge 10 m Wandstärke 4 mm Rolle E6445187
keine Verfügbarkeitsinformationen
44,10 EUR
(exkl. MwSt.)
52,48 EUR
(inkl. MwSt.)
je 1 Meter
|
||||||||||||||
Absaug- und Förderschlauch AIRDUC® PUR-INOX 351 FOOD-AS Innen-Ø 38 mm Außen-Ø 46,00 mm Länge 10 m Wandstärke 4 mm Rolle E6445188
keine Verfügbarkeitsinformationen
44,10 EUR
(exkl. MwSt.)
52,48 EUR
(inkl. MwSt.)
je 1 Meter
|
||||||||||||||
Absaug- und Förderschlauch AIRDUC® PUR-INOX 351 FOOD-AS Innen-Ø 40 mm Außen-Ø 48,00 mm Länge 10 m Wandstärke 4 mm Rolle E6445189
keine Verfügbarkeitsinformationen
44,10 EUR
(exkl. MwSt.)
52,48 EUR
(inkl. MwSt.)
je 1 Meter
|
||||||||||||||
Absaug- und Förderschlauch AIRDUC® PUR-INOX 351 FOOD-AS Innen-Ø 50-51 mm Außen-Ø 58,00 mm Länge 10 m Wandstärke 4 mm Rolle E6445190
keine Verfügbarkeitsinformationen
47,60 EUR
(exkl. MwSt.)
56,64 EUR
(inkl. MwSt.)
je 1 Meter
|